Моделирование коротких замыканий в различных тепловых режимах
Как возможно изучить процессы коротких замыканий различных электропроводников? Об этом Вы узнаете, в нашей статье.
Основными компонентами осуществляющие доставку электрического тока до потребителей являются линии электропередач. Провода, обеспечивающие эту доставку, относятся к числу наиболее пожароопасных изделий, поскольку в них сочетается горючая среда (электроизоляция) и источник зажигания (искры от электрической дуги), появляющиеся в результате работы электрооборудования в аварийных режимах.
Пожарная опасность коротких замыканий в электропроводках связана в основном с высокой температурой дуги в зоне замыкания (около 2000-4000°С) и характеризуется тремя показателями: способностью изоляции проводов возгораться от нагрева токопроводящей жилы током или дугой короткого замыкания; способностью образовывать в момент замыкания расплавленные (горящие) частицы проводниковых материалов, которые, разлетаясь на значительные расстояния, могут создавать самостоятельные очаги пожаров и возможностью поджигать материалы основания, по которому электропроводка проложена.
Непосредственно с высокой пожарной опасностью коротких замыканий в электропроводках связана проблема определения их действительной причастности к возникающим пожарам.
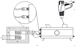
Наглядное изучение этих процессов позволяет сформировать познания, как это происходит и какие характерные признаки при этом образуются. С этой целью в Ивановской пожарно-спасательной академии ГПС МЧС России была разработана установка моделирования коротких замыканий.
![]() | ![]() |
Внешний вид и схема установки моделирования коротких замыканий в различных тепловых режимах
Установка моделирования коротких замыканий позволяет:
1. Дать наглядное представление о процессах коротких замыканий, протекающих в различных условиях.
2. Ознакомиться с аварийными процессами в электросетях, приводящими к возникновению пожаров.
3. Изучить закономерности структурных физико-химических изменений при высокотемпературных воздействиях на металлы в результате коротких замыканий.
4. Выбрать необходимые условия и режимы работы электросети при моделировании короткого замыкания.
Применение данной установки с последующим инструментальным исследованием (рентгенограммам анализом и/или металлографическим методом) позволяет изучить процессы коротких замыканий, а самое главное отличать первичное (ПКЗ) от вторичного (ВКЗ) короткого замыкания.




