«САМОТУШЕНИЕ» ТЕХНИКИ. РЕЗЕРВУАРЫ.
На рисунке приведено пассивное устройство тушения проливов (решётки «самотушения» проливов) из маслобака электродвигателя ГЦНА УСП-01Ф.

https://tdtenzor.ru/images/data/gallery/694_big_1651741925_5969.jpg
Область применения
УСП могут использоваться во всех отраслях промышленности с постоянным обращением горючих жидкостей, в том числе как технологические полы. Например, в нефтяной отрасли устройства эффективны при пожаре на нефтеперерабатывающих заводах, нефтеперекачивающих станциях, на складах горюче-смазочных материалов.
Принцип работы
Принцип работы любых устройств для «самотушения» пролитых горючих жидкостей независимо от их состава основан на подавлении естественной конвекции окислителя (воздуха) вблизи зоны пламени. Таким образом, главный принцип работы УСП – отсечение горящей жидкости от пламени. Это происходит при прохождении жидкости внутри узких вертикальных каналов устройства (с применением или без применения сеточных элементов).
Вертикальные каналы изготавливаются из листовой стали и в сборке они представляют собой ячеистую структуру, в которой реализуется эффект тушения пламени. Для каждой сборки вертикальных каналов существует вполне определенная, критическая для процесса горения высота, которая не заполняется жидкостью, и если её уровень располагается ниже этой высоты, то будет полностью исключена возможность горения жидкости во всех вертикальных каналах. При этом критическая высота незаполняемой части каналов функционально связана с их диаметром. Например, для жидкометаллических теплоносителей критическое отношение незаполняемой части каналов и диаметра имеет достаточно большие значения (К ≥ 12), поскольку предельная концентрация кислорода в газовой среде, обеспечивающая тушение горящего металла, составляет 3 ÷ 4 % по объёму.
Процесс тушения
Вертикальные каналы ячеистой формы разбивают движущуюся горючую смесь на большое количество мелких потоков, резко увеличивая площадь контакта и тепловыделение. При этом тепловой поток, вызывающий испарение жидкости, и интенсивность процесса горения уменьшаются. Происходит потеря тепла из зоны реакции к стенкам каналов. Из-за отсутствия окислителя внутри вертикального канала нарушается взаимосвязь между пламенем и поверхностью жидкости, увеличивается расстояние между зоной горения и жидкостью, происходит отрыв пламени от поверхности жидкости, в результате чего прекращается распространение пламени.

https://dubna-inform.ru/upload/iblock/960/rf9r42u2leg5l7j4sy5ww3ijgx22fqgz/integral7.jpg
Особенности
1. УСП не требует постоянного технического обслуживания, находится в постоянной готовности.
2. Срабатывание устройства не зависит от исправности автоматических средств пожаротушения.
Виды устройств
Некоторые устройства для «самотушения» резервуаров с горючими жидкостями, разработанные российской компанией «Тензор» совместно с ФГБУ «ВНИИПО МЧС России» включают:
- УСП-2. Устройство состоит из ячеистой структуры с вертикальными каналами и слоя металлических сеток на верхней горизонтальной поверхности. Оно устанавливается под поверхностью жидкости в ёмкости. При возгорании на поверхности жидкости открывается запорное устройство, и часть жидкости сливается в резервную ёмкость. Горящая поверхность опускается и проходит через УСП-2, что приводит к быстрому уменьшению размеров пламени и полному прекращению горения (otc.suskbtenzor.ru). Принципиальная схема конструкции и расположения УСП-2 в ёмкости:

https://avatars.mds.yandex.net/i?id=37a839012094ac300cd4e6be5932bcb7-4455575-images-thumbs&n=13
1 – ёмкость, 2 – поверхность горючей жидкости, 3 – металлические сетки, 4 – вертикальные каналы, 5 – трубопровод,
6 – запорное устройство, 7 – резервная ёмкость
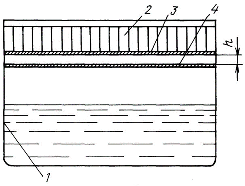
- УСП-3. Это устройство также имеет ячеистую структуру с вертикальными каналами и несколько слоёв металлических сеток, расположенных в плоскости нижнего среза этой структуры. Оно может быть установлено в открытых баках и небольших резервуарах под слоем горючей жидкости. При возгорании пролитая жидкость сливается из нижней части ёмкости, что способствует тушению. Верхний слой сеток обеспечивает отсечение пламени от жидкости, падающей в устройство, а нижний слой сеток предотвращает поступление воздуха к пламени, реализуя эффект объёмного тушения (otc.suskbtenzor.ru).
Принципиальный вид устройства «самотушения» предназначенного для ликвидации процесса горения падающих потоков жидкости, образующихся в аварийных ситуациях, показан на рисунке.

https://img.patentdb.ru/i/1000x1000/35226b42c5743416e5d01366899aed0d.jpg
1 - ёмкость,2 – вертикальные каналы, 3 – верхний слой сеток. 4 - нижний слой сеток.
- УСП-01Ф1. Устройство предназначено для тушения горючих жидкостей в резервуарах и открытых баках, а также для предотвращения возгораний при аварийных проливах. Оно устанавливается в технологическом полу или непосредственно в небольших ёмкостях под слоем горючих жидкостей. Состоит из набора профилированных вертикальных каналов (пламегасящих элементов), которые помещаются в горизонтальный поддон. Вертикальные каналы изготавливаются из нержавеющей или оцинкованной стали, в сборке представляют собой ячеистую структуру, в которой реализуется эффект тушения пламени. Между нижней частью набора вертикальных каналов и днищем поддона оставляется свободное пространство, обеспечивающее быстрое перетекание жидкости и равномерное заполнение каналов.
- УСП-МТ. Такое устройство «самотушения» проливов моторного топлива предназначено для тушения летнего, зимнего, арктического дизельного топлива на площадках и в помещениях без применения огнетушащих веществ и может применяться для обеспечения пожарной безопасности помещений и сооружений, в которых находятся указанные жидкости.

http://nppintegral.ru/production/tseny/download/83_34cf254c77f716cba30ed3630f297097
Пламегасящая способность устройств «самотушения» зависит от формы и размеров пламегасящего элемента – наибольшая эффективность достигается в вертикальных каналах, имеющих в поперечном сечении осесимметричную форму (например, равносторонний треугольник, квадрат, шестигранник, круг).
Требования к установке
УСП устанавливают в резервуаре над или под поверхностью жидкости, а также рядом с резервуаром в виде горизонтальных пламегасящих полов. Потушенная жидкость собирается под полом в приямках и стекает в резервуары для её сбора. Особое условие для обеспечения работоспособности системы – поддержание чистоты сеточных элементов.
“Плитка” устройства для «самотушения» горящих резервуаров при проливах жидкостей

https://tenzor.net/production/ustroystvo-samotusheniya-prolivov-goryuchikh-zhidkostey-usp-01f1/
Нормативные документы
Применение УСП регламентируется, например, СП 13.13130.2009 — сводом правил по пожарной безопасности. В нём введено понятие «поддоны самотушения» для предотвращения и подавления пожаров легковоспламеняющихся и горючих жидкостей. Например, при размещении ёмкостей с горючей жидкостью в подвале допускается выполнять под ёмкостями устройства самотушения проливов из расчёта удержания всего объёма жидкости с дальнейшей откачкой её насосом в сборный бак за пределами здания.


